メインコンテンツまでスキップ

12. ログ分析

12-1. ログ分析

ログ分析はエスカレーション履歴や発呼履歴を利用してアラート分析や改善に役立つ機能を提供します。
分析種別および分析条件を選択してから、更新ボタンをクリックことで下ペインに種別に応じた分析結果が表示されます。

項目名説明補足
分析種別分析したい種別を選択します。現在は「パターン別電話通報完了時間」「パターン別電話通報ラッシュ分析」「要員別電話応答不可率」をサポートしています。  
備考

蓄積されているアラート数に応じて分析結果の表示に数分の時間がかかる場合があります。

12-1-1. パターン別電話通報完了時間

パターン別に電話通報にかかった時間(発呼から応答完了またはリトライオーバーまで)の平均時間のワースト10を表示します。
本分析を利用することで対応までに時間がかかっているパターンを発見し、問題がないのかの確認や担当者へのレクチャーに役立てることができます。

分析条件

項目名説明補足
プロジェクト選択全プロジェクトを対象とするかプロジェクトを個別に選択します。
分析対象月分析の対象となる月を選択します。6カ月以内の期間から選択できます。

分析結果

項目名説明補足
プロジェクト名当該パターンが属しているプロジェクト名
パターン名当該パターン名
電話通報回数当該パターンが対象月で行った電話通報の回数
電話通報完了までの平均時間当該パターンが対象月で行った電話通報において通報完了するまでの平均時間
電話通報完了までの最大時間当該パターンが対象月で行った電話通報において通報完了するまでの最大時間

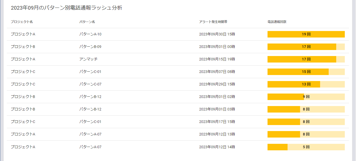
12-1-2. パターン別電話通報ラッシュ分析

1時間以内に5回以上の電話通報を行ったパターンをランキング形式で表示します。分析結果は電話通報回数の多い順に最大10件表示します。
本分析を利用することで短時間に多くの電話通報を行ったパターンと電話通報のラッシュに繋がったアラートの発生時間帯を確認できます。集約パターンの活用や集約時間の見直しをすることで、電話通報回数の削減や担当者の負荷の軽減に役立てることができます。

ヒント

電話通報のラッシュが発生したパターンが「単発」タイプである場合は、「集約」タイプに変更するすることで一定時間内に発生したアラートに対する電話通報を抑止することができます。詳細は パターン-基本設定(集約) を参照してください。

分析条件

項目名説明補足
プロジェクト選択全プロジェクトを対象とするかプロジェクトを個別に選択します。
分析対象月分析の対象となる月を選択します。6カ月以内の期間から選択できます。

分析結果

項目名説明補足
プロジェクト名当該パターンが属しているプロジェクト名
パターン名当該パターン名
アラート発生時間帯電話通報のラッシュに繋がったアラートの発生時間帯アラートメールの送信日時を1時間ごとに集約することで発生時間帯を決定しています(表示形式: YYYY年MM月DD日 HH時)
電話通報回数当該パターンがアラート発生時間帯で行った電話通報の回数

12-1-3. 要員別電話応答不可率

通報グループの要員別に電話通報の応答不可率を分析し、電話応答不可率の高い順にワースト100を表示します。
本分析を利用することで電話に応答しなかった要員や未使用の電話番号を発見できます。通報先のシフトの見直しや不要な定義を削除することで、通知件数の削減や障害対応までの時間短縮に繋げることができます。

備考

電話応答不可率は電話通報の各発呼に対して対応可能以外の回答(未応答、通話後未応答、担当者ではない、対応不可)を行った回数を全発呼回数で割った数を指します。

分析条件

項目名説明補足
プロジェクト選択全プロジェクトを対象とするかプロジェクトを個別に選択します。
分析対象月分析の対象となる月を選択します。6カ月以内の期間から選択できます。

分析結果

項目名説明補足
プロジェクト名通報グループが所属するプロジェクトの名称
通報グループ名要員が所属する通報グループの名称
要員名電話番号を保有する要員の名称
電話番号名発呼された電話番号の名称
応答不可率発呼回数に対する応答しなかった回数の割合
発呼回数対象月に当該電話番号へ発呼した回数
応答しなかった回数対象月の当該電話番号への発呼に対して対応可能以外の回答を行った回数マウスホバーにより内訳を表示できます。
未応答発呼時に応答しなかった回数マウスホバーにより表示できます。
通話後未応答発呼時の通話中に応答がなかった回数マウスホバーにより表示できます。
担当者ではない発呼時に担当者ではないと回答した回数マウスホバーにより表示できます。
対応不可発呼時に対応不可と回答した回数マウスホバーにより表示できます。
備考

要員別電話応答不可率の分析は通報グループの要員別に実施するため、複数の通報グループに所属する要員の場合は分析結果に複数回表示されることがあります。